SIEMENS NIXDORF

H375

Device Type

Internal CD-ROM

Interface

IDE(AT)

Spin Rate (Read)

32x

Formats Supported Read

CD-XA, CD-R, CD-RW, CD-I, CD-ROM (Mode 1 & Mode 2), ISO 9660, Photo-CD, Video CD, Red & Yellow Book, CD-Plus, Multi-session

View

Top

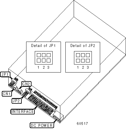
CONNECTIONS

Function

Label

Function

Label

Digital audio line out

CN1

Audio line out

CN2

USER CONFIGURABLE SETTINGS

Setting

Label

Position

»

Factory configured - do not alter

JP1

Open

MASTER/SLAVE SELECTION

Setting

JP2/1

JP2/2

JP2/3

Master in two drive system

Open

Open

Closed

Slave in two drive system

Open

Closed

Open

Master/slave determined by cable select

Closed

Open

Open